
By Adolfo Rios Pita Giurfa
It is a well known fact that vegetation, forests, contribute to the presence of rain. Where there is no vegetation there are no thunderstorms (as seen above)and, of course, there is no rain. Our theory is that TREES CHARGE STATIC ELECTRICITY FROM THE ATMOSPHERE UNTIL REACHING A CERTAIN LEVEL, ONCE THIS LEVEL IS REACHED A CHEMICAL-ORGANIC RELAY IS ACTIVATED, CLOSED, TO RELEASE THIS CHARGE TO THE GROUND; THIS CLOSES THE GAP BETWEEN CLOUDS AND GROUND, MAKING CLOUDS LOSE THEIR CHARGE SO WATER DROPLETS LOSE THEIR INDIVIDUAL CHARGES AND FALL TO THE GROUND AS RAIN.
RAIN PROCESS

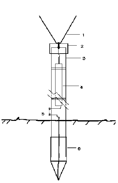
ARTIFICIAL TREE

|
1)Metallic Antenna
|
2)Plastic Cap |
3)Plastic tube |
4)Paper Condenser |
5)Relay: Spark Gap |
6)Metallic Root |
!
![]()
|
| PREVIOUS PAGE | NEXT PAGE | |